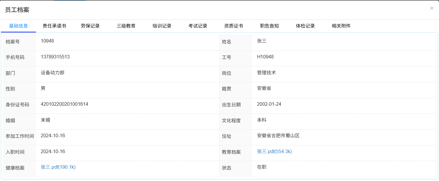
人员档案管理对企业内部人员和相关方人员进行统一管理,可查看人员的职业健康监护档案、教育培训档案、持证情况、劳防用品领用记录、签订合同、奖惩记录、相关附件等。每个人员对应唯一的二维码,扫描二维码可快速查看人员档案信息。

人员档案管理

相关方人员:企业供应商、承包商、劳务分包等外来人员。

职业健康监护档案:劳动者个人信息卡、工作场所职业病危害因素检测结果、历次职业健康检查结果及处理情况。

教育培训档案:培训记录、考试记录、三级安全教育卡。

持证情况:资质资格证书。

合同签订:安全责任书、安全承诺书、职业病危害告知。

奖惩记录:安全奖励、安全惩罚、违章记录。

助力企业实现信息化、数字化、智能化,打造现代化智慧工厂,主要产品有设备管理系统HSE数字化平台仓储管理系统数字孪生可视化大屏智能运维管理系统生产ERP,视频监控,SCADA,能耗管理。
详细请咨询客服。