通过系统的日常更新 ,主动推送,实现知 识库的自动应用 ,自主学习,越用越熟。

安全智库包括:隐患库,法律法规库,检 查表库,事故案例库,应急预案库,课程 试题库等。

故障知识库、维修知识库

随着信息化进程,知识库管理越来越受到企业的重视,但是企业在进行文档管理的过程中,经常会碰到以下的问题:海量知识存储,管理困难;查找缓慢,效率低下;知识库版本管理混乱;知识库安全缺乏保障;知识库无法有效协作共享;知识库管理举步维艰等。微EAM系统推出知识库这个功能,给企业的一线人员提供了很多便利。

微EAM系统提供了全面知识库管理的框架,允许企业在任何地点和时间张贴、存储和创建文档并共享信息。所有的文档都可以经由Web浏览器找到并获得。并将不同等级的文档赋予不同权限的人。更重要的是为每个员工提供一个个性化的知识信息门户,在这个个性化的门户中,员工只能找到与他职位和权限相关的知识,并且每一个员工在自己的门户中积累知识,并与大家共享自己在各方面的经验和知识。故障现象的积累、故障现象智能提示,自动推荐维修和排故方案,实现维修作业的标准化,将既有的使用手册、维修手册等资料结构化、知识化,指导故障诊断和维修。


设备使用、维保过程中,自动记录隐患故障的发生原因、现象及解决方案,实现知识的积累和传承。当再次发生时,系统根据相关故障关键字、维保关键词自动匹配出相关的知识库,为工人提供技术指导和参考,加速故障检修处理过程。
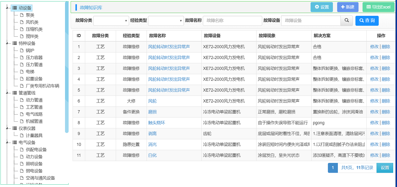
故障知识库
知识库包括故障分类、经验类型、关键词、故障名称、故障设备、设备类别、故障部位、故障现象、解决方案、原因分析、处置建议等属性,另外可以关联相关图片、视频、文档等附件。
检修前,调度员可以根据相关参数(设备类别、故障现象、故障部位、关键词)计划解决方案,处置建议,安排检修备件等。
检修过程中,维修工程师可以根据相关参数(设备类别、故障分类、关键词)检索历史处理情况、故障图片、检修视频,引用解决方案,直接应用维修知识。
检维修结束后,维修工程师可决定是否将本次维修过程作为经验存入知识库。

管理员可对知识库进行修改删除,维护关键词。

负责人可将培训资料上传在微EAM系统知识库中,不以传统方式老带新。直接通过看相关的资料进行学习。

助力企业实现信息化、数字化、智能化,打造现代化智慧工厂,主要产品有设备管理系统HSE数字化平台仓储管理系统数字孪生可视化大屏智能运维管理系统生产ERP,视频监控,SCADA,能耗管理。
详细请咨询客服。